I brevetti mostrano che CFMOTO sta lavorando alla costruzione di alette distribuibili sulla sua gamma di motociclette sportive.
CFMOTO potrebbe entrare molto presto in un territorio inesplorato, poiché i brevetti rivelano che ha studiato alare sulle sue bici che possono essere distribuite al comando.
I Winglets sulle moto sono apparsi per la prima volta nell’era moderna nel 2010, con Desmosedici GP10 di Ducati che li ha riportati nella conversazione. Altri marchi avevano flirtato l’idea, come Suzuki, con la sua RG500 del 1980 e MV Agusta, con la sua bici GP da 500/4 del 1972. La Ducati, tuttavia, fu il primo di uno tsunami di alette che spuntarono rapidamente dalla carrozzeria del resto della griglia.
Come è il modo con la relazione su strada e bici da corsa, molto presto abbiamo iniziato a vedere le alette che appaiono su bici da strada, da cose come i Panigale V4s alle biciclette come quella che puoi vedere qui, 675SR di CFMOTO.

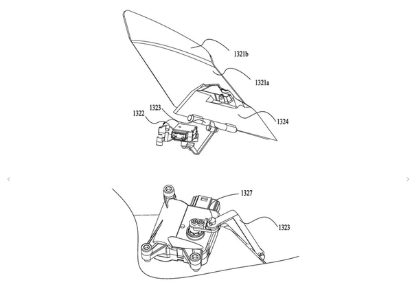
Il design dei suddetti alette sembra essere abbastanza semplice, con un attuatore seduto all’interno della carenatura e un collegamento che lo fissa al winglet. Ciò che non è così chiaro è esattamente come vengono distribuiti. Alcuni rapporti suggeriscono che questo viene fatto automaticamente e ad una certa velocità, sebbene possano anche essere collegati a una modalità di guida, dove rimangono nella posizione completamente distribuita.

Mentre il CFMOTO sarebbe la prima bici con alette che possono distribuire mentre la bici è in movimento, non è la prima motocicletta a presentare aerodinamica attiva. Moto Guzzi ha già un sistema sul suo Mandello V100, sebbene sulla bici italiana, l’aero ha uno scopo leggermente diverso.

Invece di migliorare la maneggevolezza o la presa front-end della Guzzi, i Winglet si suppone di muovere la bici da una roadster a un tourer alla spinta di un pulsante. Si afferma che quando gli elementi aerodinamici sono in posizione schierata (in su), riducono la pressione dell’aria sul corpo del pilota, rendendo la crociera più comoda. I risultati, tuttavia, non sono abbastanza riusciti, con il tester stradale di Italiano Enduro che non ha notato molta differenza quando è fuori strada.
Potresti anche leggere la nostra recensione di Moto Guzzi V100 Mandello.
Ciò che questi Winglet CFMoto finiranno rimane da vedere, e mentre il marchio ha le bici sportive da 500sr e 675SR nella sua gamma, questa tecnologia potrebbe essere più adatta alla vezzabita V4, tanto attesa del CFMOTO, che deve ancora essere lanciata.
